微軟可穿戴新專利:超精準測量佩戴者血壓
最專業的智能可穿戴設備行業資訊報道,最新科技領域專屬性媒體,從不跟隨別人。只求突破自己—更多精彩內容請點擊添加公眾號搜索(智能穿戴硬件聯盟)微信公眾號:sppwearable。
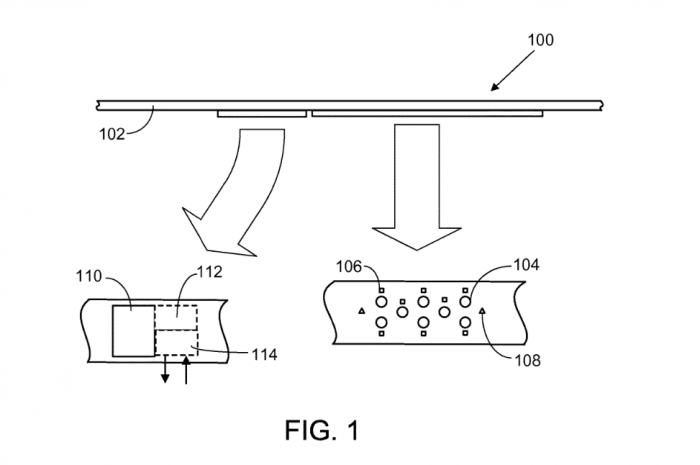
微軟為其新專利留下了足夠的顯示空間,在必要時可以設計成智能手表。
微軟對可穿戴設備的研發停滯了四年之久,在2016年停止了對Mircosoft Band的支持,但這并不意味著微軟放棄了可穿戴設備領域的探索。近日,微軟一項新專利被公示,該技術可以有效解決當前可穿戴設備測量血壓的難點。除此之外,微軟還申請了其他與可穿戴相關的技術專利,這也為微軟未來回歸市場做準備。
該專利全稱為“可穿戴式脈壓波發送設備”,在設備背面特定區域裝有壓力傳感器,戴在手腕上大致位于動脈附近。該專利的亮點在于,該設備會提醒用戶佩戴的最佳位置,從而獲得最準確的讀數。理想情況下,微軟的動脈監測系統將減少假陽性讀數,并每天以最準確的讀數告知用戶。根據報告,微軟為其新專利留下了足夠的顯示空間,在必要時可以設計成智能手表。
早前微軟發布的Band 2 包含了光學心率監測、電擊式皮膚反應傳感器、皮膚溫度傳感器、電容式傳感器以及睡眠追蹤軟件等功能,但并不支持測量血壓。該功能也是為了高血壓患者更好地了解自身的健康狀況而設計。
相關資訊
同類文章排行
- 智能手機保護殼材質詳解:硅膠、TPU、PC及TPE+PC各有千秋
- 兒童手表材料種類繁多,其中硅膠、TPU和TPE
- 華為WATCH GT3和 GT Runner正式亮相
- 全面無短板旗艦手表——OPPO Watch 2
- 新品 與眾不同的華為VR Glass 6DoF 游戲套裝
- 華為智能眼鏡將價格打了下來了
- 新款小米Watch S1智能手表,把各項配置都拉滿了
- 與眾不同的華為VR Glass 6DoF 游戲套裝
- 當前智能穿戴設備觸控市場面臨哪些難題?
- P30按摩坐墊,隨處可用的坐姿小幫手,還能按摩熱敷
最新資訊文章
您的瀏覽歷史
